需要技术,找朗润创新

一种节能环保旋转水处理空气净化器

专利号/申请号
CN201810087166.X
申请日
2018年1月30日
法律状态
实审
主分类号
B03C3/017

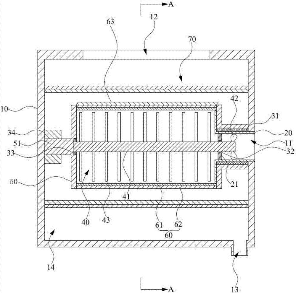
本发明公开了一种节能环保旋转水处理空气净化器,其包括外壳体,外壳体具有进气通槽、出气口与出水口;安装于进气通槽的限位支架,限位支架与进气通槽之间套设轴承;容置于外壳体内的旋转除尘组件,旋转除尘组件的主轴一端套设轴承并通过限位杆安装于限位支架,另一端通过轴承安装于转动盘,转动盘通过轴承安装于外壳体;环设于转动盘释放负离子的隔离除尘组件,隔离除尘组件罩设旋转除尘组件并连通进气通槽;设置于外壳体内且环设密封隔离除尘组件的隔水组件,隔水组件释放正离子。本发明通过周遭空气带动旋转除尘组件转动并吸入空气,加速流动,配合隔离除尘组件与隔水组件静电除尘,最终透过出气口排放出净化后的空气,减小空气污染。

一种智能电动汽车仪表及其控制方法

专利号/申请号
CN201711347830.1
申请日
2017年12月15日
法律状态
实审
主分类号
B60K35/00

本发明公开了一种智能电动汽车仪表及其控制方法,包括仪表盘、控制电路、车速反映装置、信号采集单元和存储单元;所述控制电路分别与所述车速反映装置和所述仪表盘电连接;所述信号采集单元分别与所述控制电路和所述存储单元电连接并传输采集的信息,所述存储单元还与所述控制电路电连接并传输存储的信息;所述信号采集单元包括车速传感器和转速传感器;通过车速反映装置及其控制方法能够方便快速地将电动汽车的速度更加真切地反映给驾驶者,提醒其注意安全。

一种用于石油采集的高效过滤设备

专利号/申请号
CN201710168302.3
申请日
2017年3月21日
法律状态
实审
主分类号
B01D33/03

本发明属于石油采集技术领域,尤其涉及一种用于石油采集的高效过滤设备。本发明要解决的技术问题是提供一种体积小、占地面积小、过滤效果佳、操作简单、工作效率高、降低了成本的用于石油采集的高效过滤设备。为了解决上述技术问题,本发明提供了这样一种用于石油采集的高效过滤设备,包括有筒体、下料斗、转轴、第一横板、过滤筒、抖动装置、第一排油管等;筒体底部左右两侧对称设有支腿,支腿呈竖直设置,支腿通过螺栓连接的方式与筒体底部连接,筒体顶部设有下料斗,筒体内左侧壁设有转轴,筒体内左侧壁设有第一横板。本发明通过对石油两次高效过滤,且能够避免第一排油管出现堵塞现象,操作简单,使用方便。

一种文化传媒用户外广告牌清洗设备

专利号/申请号
CN201710278127.3
申请日
2017年4月25日
法律状态
实审
主分类号
B08B1/00

本发明涉及一种清洗设备,尤其涉及一种文化传媒用户外广告牌清洗设备。本发明要解决的技术问题是提供一种自动清洗广告牌的文化传媒用户外广告牌清洗设备。为了解决上述技术问题,本发明提供了这样一种文化传媒用户外广告牌清洗设备,包括有底板、第一支架、升降装置、清洗装置、清洗刷等;底板顶部中间焊接有第一支架,第一支架顶端焊接有升降装置,升降装置右端下侧焊接有广告牌,升降装置右端上侧焊接有清洗装置,清洗装置底部焊接有清洗刷,清洗刷在广告牌前侧。本发明通过控制升降装置工作,进而带动清洗装置底部的清洗刷向下移动至广告牌玻璃前侧的位置,通过控制清洗装置工作,进而带动清洗刷左右移动。

多腔室流体包装袋

专利号/申请号
CN201611063463.8
申请日
2016年11月28日
法律状态
实审
主分类号
B65D81/32

本发明公开了多腔室流体包装袋,包括一个混合袋和至少两个相互独立的软袋体,每一个所述软袋体的一侧设置有袋口,所述混合袋的一侧设置有通过挤压软袋体使袋口与混合袋连通的封口边,所述混合袋的另一侧设置有用以打开或密封混合袋的密封边。本发明通过在包装袋上连接多个具有单独密封空间的软袋体和一个混合袋,能够盛装多种不同味道的调料挤压到混合袋内完全混合,避免了使用第三方器具带来的不便,同时避免两种调料装在同一包装袋内造成成分失效,且通过挤压软袋体可以将各个袋腔内的调料被挤压到混合袋内混合后挤压出来,防止使用调料时沾出与手、衣服或者其它物体接触,卫生,方便,避免浪费。

一种区域消防智能监测报警平台

专利号/申请号
CN201610704901.8
申请日
2016年8月22日
法律状态
实审
主分类号
G08B17/00

本发明公开了一种区域消防智能监测报警平台,包括设有消防物联网微处理单元的远程控制中心、消防设施、连接各个消防设施的消防设施监测模块、数据传输模块、气象信息收集单元、巡检装置和火灾预警单元,气象信息收集单元连接火灾预警单元,巡检装置无线连接火灾预警单元;消防设施监测模块和火灾预警单元分别通过数据传输模块连接远程控制中心。本发明采用以上结构,通过采用远程控制中心、消防设施、连接各个消防设施的消防设施监测模块、数据传输模块、气象信息收集单元、巡检装置和火灾预警单元,具有报警渠道多样化、巡检方位全面、实时不间断巡检、警情发布速度快、安全性高的优点。

一种降解甲醛的介孔复合材料及其制备方法

专利号/申请号
CN201610267981.5
申请日
2016年4月22日
法律状态
实审
主分类号
B01J20/24

本发明提供了一种降解甲醛的介孔复合材料及其制备方法,以介孔Al?MCM?41为基体材料,通过Al掺杂使得基体介孔材料具有较高的活性和较大的比表面积,且Pt?TiO2/Al?MCM?41复合材料的比表面积高,确保复合材料较大的吸附能力。另一方面,本发明利用介孔材料的孔道限制效应有效阻止了纳米粒子的尺寸增长,确保其高的反应活性,同时利用贵金属Pt对纳米TiO2进行表面修饰,进一步提高了光催化剂的反应活性。因此,本发明制备的介孔复合材料对高浓度甲醛具有高效吸附降解能力。

酶解淀粉基固着剂的制备

专利号/申请号
CN201110344551.6
申请日
2011年11月4日
法律状态
授权
主分类号
C12P19/04

本发明属于化工领域尤其是制浆造纸行业,特别涉及一种新型淀粉基固着剂的制备方法。本发明所得酶解淀粉基固着剂是由淀粉先后经过a?淀粉酶和季铵盐阳离子醚化剂的双重改性制得,既能有效地控制浆料中的溶解与胶体物质,又能提高成纸强度;并且所得产品应用于纸张生产线时,在溶解槽中溶解后即可使用,大大简化了产品取用的过程,提高了产品取用的稳定性。

一种用仿真技术优选陶瓷刀具切削参数的方法

专利号/申请号
CN201210368239.5
申请日
2012年9月28日
法律状态
授权
主分类号
G06F17/50

一种用仿真技术优选陶瓷刀具切削参数的方法,涉及切削加工方法,通过实验和计算得到工件的流变数据和物理参数刀具物理参数,用有限元软件先后使用瞬态和稳态模拟得到陶瓷刀具的温度场和应力场。经过分析不同切削条件下刀刃的温度场和应力场分布,确定最优的切削参数。本发明使用了瞬态和稳态结合的方法,数据更准确,对合理使用陶瓷刀具,提高陶瓷刀具寿命,确定了不同工件材料的精加工、半精加工、粗加工所对应的重要切削参数(切削速度v、进给量f、切削深度αP)。在满足切削条件、延长陶瓷刀具使用寿命、提高加工质量、降低加工成本等方面起到显著作用。

一种用仿真技术优选陶瓷刀具切削参数的方法

专利号/申请号
CN201310165173.4
申请日
2013年5月8日
法律状态
授权
主分类号
C08B31/00

本发明涉及一种应用超声波技术加工复合变性淀粉的方法,属于变性淀粉加工领域。本发明以淀粉(如马铃薯淀粉、玉米淀粉或红薯淀粉)为原料,用一定浓度的盐酸溶液制成淀粉乳,进行超声处理,后经中和、抽滤、干燥处理得酸变性淀粉;再以酸解淀粉为原料,配成一定浓度的淀粉乳溶液,加入一定量醋酸酐,用一定浓度的氢氧化钠溶液调节pH值至9左右,进行超声处理,后经中和、抽滤、干燥处理得复合变性淀粉产品。本发明得到的复合变性淀粉,其糊粘度较低、易于涂膜、透明度高、抗凝沉性较好,有一定的乳化性。在变性淀粉生产线上使用时,因其生产操作方便、生产周期短、产品性能优良,广泛用于食品、医药卫生、化工、造纸等各个领域。

一种通过等药液浓度提高过氧化氢漂白效率的方法

专利号/申请号
CN201510044736.3
申请日
2015年1月29日
法律状态
授权
主分类号
D21C9/16

本发明涉及一种通过等药液浓度提高过氧化氢漂白效率的方法,该方法将漂白过程中一种或几种药品的浓度稳定在某一水平上,需要稳定浓度的每一种药品单独配备加液计量泵,并由计算机控制在线调节该药品的浓度,同时降低反应温度。本发明方法通过向漂白系统中连续补充药液的方式,使系统中的一种或几种化学药品浓度在较长一段时间内保持某一水平的稳定状态,同时降低部分药品浓度和反应温度,提供更合适的过氧化氢漂白反应条件;在等浓度漂白条件下,过氧化氢的无效分解得到进一步的抑制,从而提高漂白效率。等浓度漂白使用廉价的常规过氧化氢漂白药品,有利于降低药品费用。

发酵生产乳糖酶的乳酸菌培养基

专利号/申请号
CN201410264060.4
申请日
2014年6月13日
法律状态
授权
主分类号
C12N1/20

本发明涉及一种发酵生产乳糖酶的乳酸菌培养基,所述的培养基成分包括为乳清粉、酵母浸粉、NH4H2PO4,所述培养基中还包括无机盐和维生素。本发明所述的培养基可供乳酸菌良好生长,并产生高活力乳糖酶;同时,本发明的培养基与优化前的培养基相比,生产成本大幅降低达50%。

裂解水产致病菌噬菌体的分离与筛选方法

专利号/申请号
CN201410213471.0
申请日
2014年5月20日
法律状态
授权
主分类号
C12N7/00

本发明涉及一种裂解水产致病菌噬菌体的分离与筛选方法,噬菌体名称为ΦA8?29,分类名称为Aeromonas?veronii?phage,保藏编号:CGMCC?No.9152;维氏气单胞菌名称为A8?29,分类名称为Aeromonas?veronii,保藏编号:CGMCC?No.9093,保藏单位:中国微生物菌种保藏管理委员会普通微生物中心,地址:北京市朝阳区北辰西路1号院3号,保藏日期:2014年04月25日。本发明提供了一种水产致病菌噬菌体的筛选与鉴定方法,分离得到的噬菌体能够用于预防和控制水产致病菌的感染,避免或减少抗菌素在水产养殖中的使用,发展水产养殖的绿色模式。

热塑性纤维素基共聚物的制备方法

专利号/申请号
CN201510006086.3
申请日
2015年1月7日
法律状态
授权
主分类号
C08F251/02

本发明公开了一种热塑性纤维素基共聚物的制备方法及其用途,该制备方法包括以下步骤:1)将干燥后纤维素充分溶解于离子液体、多聚甲醛/二甲基亚砜或氯化锂/N, N?二甲基甲酰胺中得到纤维素溶液;2)采用含有不饱和双键的羧酸单体、含有不饱和双键的酯类单体或含有不饱和双键和酰氯基团的单体与聚乙二醇正烷基醚在存在阻聚剂的条件下反应制得第二单体;3)向反应容器中加入溶剂、链转移剂、引发剂、第二单体与纤维素溶液反应,得到反应混合物;再经处理得到热塑性纤维素基共聚物。该方法工艺简单,容易控制,生产效率高,适用范围广,便于实际应用。其制得的产品可用于制备纤维或薄膜,制备过程简单,产品质量好。

一种织物热性能测试仪

专利号/申请号
CN201310476295.5
申请日
2013年10月10日
法律状态
授权
主分类号
H01L21/02

本发明涉及一种织物热性能测试仪。该织物热性能测试仪包含红外图像采集部件、信号测量和温度控制箱和数据分析处理模块三个部分。红外摄像机采集红外图像并发送到电脑,固态继电器能够控制连接加热织物的电源开关,电压测量模块和电流测量模块能够采集加热织物两端电压和流过织物的电流,通过对温度图像和消耗功率的分析比较,可以得出加热织物的加热性能。该织物热性能测试仪能够实现织物表面温度场的动态实时测量,能够测量加热织物加热性能和织物的导热性能等指标,具有精度高、测量速度快、操作简单和数据信息全面等优点。

制备高分子量透明质酸的方法及工程菌

专利号/申请号
CN201310737032.5
申请日
2013年12月20日
法律状态
授权
主分类号
C12N15/74

本发明涉及一种制备高分子量透明质酸的方法及工程菌,通过敲除兽疫链球菌(Streptococcus?zooepidemicus)ATCC39920基因组中编码透明质酸裂解酶基因(hylb),本发明构建了透明质酸裂解酶基因(hylb)敲除载体pSET4s : : hylb : : cmr。本发明将敲除hylb基因的重组菌进行发酵分析,利用特性黏度法测定HA的分子量,得到分子量为3.9×106Da的HA。

一种制备化学机械浆前对木片热水预处理的方法及利用该方法的制浆方法

专利号/申请号
CN201410039664.9
申请日
2014年1月27日
法律状态
授权
主分类号
D21C1/02

本发明涉及一种制备化学机械浆前对木片热水预处理的方法,步骤如下:将木片浸泡后,进行螺旋挤压;向经过螺旋挤压处理后的木片中加入水,将木片和水的混合物进行自水解预处理,处理后得预水解液和自水解预处理后的木片;收集挤压后的木片作为化机浆的原料,即得热水预处理后的木片。本发明预处理方法充分地利用了制浆工业中现有的部分设备而不需要额外复杂设备投资,只需要使用水、少量的稀酸和乙醇,而不需要购买其他化学品,即可完成预处理工艺,较大地节省了综合生产成本,同时也有利于现有企业将制浆造纸与生物质精炼有效融合起来。

一种用于柔性印刷电路板的耐高温无卤阻燃胶粘剂

专利号/申请号
CN201410108214.0
申请日
2014年3月19日
法律状态
授权
主分类号
C09J163/00

一种用于柔性印刷电路板的耐高温无卤阻燃胶粘剂及其制备。该阻燃胶粘剂主要由多马来酰亚胺树脂、苯并恶嗪树脂、丁腈橡胶、酚醛树脂、阻燃环氧树脂、固化促进剂、无机填料及溶剂组成。该胶粘剂以多马来酰亚胺树脂和苯并恶嗪树脂混合,加入阻燃环氧树脂,用有机溶剂溶解后,再加入丁腈橡胶、固化促进剂、酚醛树脂、无机填料用化学反应法或物理混合法制成,该胶用于铜箔与聚酰亚胺薄膜粘接,制得的柔性印刷电路板的阻燃性好,同时具有优异的耐热性和很高的剥离强度。

更多其他专利和技术 ?

如果您需要其他专业领域更多其他专利和技术,请您与我们的知识产权顾问联系!

联系我们

专利转让?

如果您需要购买专利权,请查看专利转让相关信息,或咨询我们的知识产权顾问!

专利转让

Copyright © 2018 langrunip.com, All Rights Reserved
苏州朗润创新知识产权运营有限公司